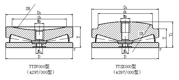
該類軸承是專用軸承,是為軋鋼機壓下機構專門設計的,軸承無保持架滿裝滾子,允許的轉速極低,軸向負荷能力很大,為滿足軋鋼機壓下機構工作要求,該類軸承的頂圈頂端加工成凸球面TTSX000型(4297/000型)或凹球面TTSV000型(4397/000型),以保證其調心性能,同其他相配合的異型端面接觸均勻,在壓下機構相對軸承軸線產生一定傾斜時能保證軸承受力均勻。
該類軸承是經過嚴格配套而成,滾子及其他零件互換性差,每套軸承應獨立使用,安裝時套與套之間的滾子不能混裝。

主要技術參數:
咨詢熱線
138 4261 2559該類軸承是專用軸承,是為軋鋼機壓下機構專門設計的,軸承無保持架滿裝滾子,允許的轉速極低,軸向負荷能力很大,為滿足軋鋼機壓下機構工作要求,該類軸承的頂圈頂端加工成凸球面TTSX000型(4297/000型)或凹球面TTSV000型(4397/000型),以保證其調心性能,同其他相配合的異型端面接觸均勻,在壓下機構相對軸承軸線產生一定傾斜時能保證軸承受力均勻。
該類軸承是專用軸承,是為軋鋼機壓下機構專門設計的,軸承無保持架滿裝滾子,允許的轉速極低,軸向負荷能力很大,為滿足軋鋼機壓下機構工作要求,該類軸承的頂圈頂端加工成凸球面TTSX000型(4297/000型)或凹球面TTSV000型(4397/000型),以保證其調心性能,同其他相配合的異型端面接觸均勻,在壓下機構相對軸承軸線產生一定傾斜時能保證軸承受力均勻。
該類軸承是經過嚴格配套而成,滾子及其他零件互換性差,每套軸承應獨立使用,安裝時套與套之間的滾子不能混裝。

主要技術參數:
| 軸承型號 | 外形尺寸(㎜) | 額定靜載荷 | 質量Weight | |||||||||
| Bearing NO. | Boundary Dimensions | Load Rating | ||||||||||
| 現型號 | 原型號 | D | Mass | T1 | T | d1 | SR | M1 | M2 | rmin | Coa(kN) | (㎏) |
| Current | Original | |||||||||||
| TTSX100 | 4397/100 | 100 | 98 | 37 | 32 | 87 | 250 | M8 | 1.5 | 1002 | 1.9 | |
| TTSX120 | 4397/120 | 120 | 118 | 45 | 38 | 105 | 300 | M10 | 1.5 | 1635 | 3.3 | |
| TTSX150 | 4397/150 | 150 | 148 | 55 | 48 | 127 | 457.2 | M12 | 1.5 | 2325 | 6.3 | |
| TTSV150 | 4297/150 | 150 | 148 | 48 | 127 | 228.6 | M12 | 1.5 | 2325 | 5.7 | ||
| TTSX175 | 4397/175 | 175 | 173 | 62 | 53 | 152 | 457.2 | M12 | 1.5 | 3223 | 9.6 | |
| TTSV175 | 4297/175 | 175 | 173 | 53 | 152 | 228.6 | M12 | 1.5 | 3223 | 8.5 | ||
| TTSX203 | 4397/203 | 203 | 201 | 75.6 | 65 | 178 | 508 | M12 | 1.5 | 4500 | 16 | |
| TTSV203 | 4297/203 | 203 | 201 | 65 | 178 | 254 | M12 | 1.5 | 4500 | 10.2 | ||
| TTSX205 | 4397/205 | 205 | 203 | 76 | 65 | 178 | 508 | M20 | 1.5 | 4585 | 16.2 | |
| TTSV205 | 4297/205 | 205 | 203 | 65 | 178 | 254 | M20 | 1.5 | 4585 | 14.3 | ||
| TTSX235 | 4397/235 | 235 | 233 | 85 | 73 | 208 | 560 | M20 | 1.5 | 6028 | 23.7 | |
| TTSV235 | 4297/235 | 235 | 233 | 73 | 208 | 280 | M20 | 1.5 | 6028 | 18 | ||
| TTSX265 | 4397/265 | 265 | 263 | 95 | 81 | 229 | 609 | M20 | 1.5 | 7753 | 33.9 | |
| TTSV265 | 4297/265 | 265 | 263 | 81 | 229 | 304.8 | M20 | 1.5 | 7753 | 24.1 | ||
| TTSX320 | 4397/320 | 320 | 318 | 112 | 95 | 280 | 762 | M24 | M30 | 1.5 | 11500 | 58.9 |
| TTSV320 | 4297/320 | 320 | 318 | 95 | 280 | 380 | M24 | M30 | 1.5 | 11500 | 51 | |
| TTSX377 | 4397/377 | 377 | 375 | 129 | 112 | 330 | 914 | M24 | M30 | 1.5 | 17192 | 93.5 |
| TTSV377 | 4297/377 | 377 | 375 | 112 | 330 | 457.2 | M24 | M30 | 1.5 | 17192 | 65.8 | |
| TTSX380 | 4397/380 | 380 | 378 | 129 | 112 | 330 | 914.4 | M24 | M30 | 1.5 | 17490 | 98.5 |
| TTSV380 | 4297/380 | 380 | 378 | 112 | 330 | 457.2 | M24 | M30 | 1.5 | 17490 | 66 | |
| TTSX410 | 4397/410 | 410 | 408 | 142 | 122 | 355 | 1016 | M24 | M30 | 1.5 | 18910 | 125 |
| TTSV410 | 4297/410 | 410 | 408 | 122 | 355 | 508 | M24 | M30 | 1.5 | 18910 | 110 | |
| TTSX440 | 4397/440 | 440 | 438 | 158 | 130 | 380 | 1016 | M24 | M36 | 3 | 23330 | 139 |
| TTSV440 | 4297/440 | 440 | 438 | 130 | 380 | 508 | M24 | M36 | 3 | 23330 | 137 | |
| TTSX495 | 4397/495 | 495 | 492 | 172 | 146 | 432 | 1066.8 | M24 | M36 | 3 | 26000 | 237 |
| TTSV495 | 4297/495 | 495 | 492 | 146 | 432 | 558.8 | M24 | M36 | 3 | 26000 | 190 | |
| TTSX525 | 4397/525 | 525 | 522 | 180 | 155 | 460 | 1270 | M24 | M36 | 3 | 36200 | 266 |
| TTSV525 | 4297/525 | 525 | 522 | 155 | 460 | 635 | M24 | M36 | 3 | 36200 | 224 | |
| TTSX555 | 4397/555 | 555 | 522 | 192 | 165 | 482 | 1270 | M24 | M36 | 3 | 33500 | 275 |
| TTSV555 | 4297/555 | 555 | 522 | 165 | 482 | 635 | M24 | M36 | 3 | 33500 | 275 | |
| TTSX580 | 4397/580 | 580 | 577 | 195 | 165 | 510 | 1422.4 | M24 | M42 | 3 | 38000 | 330 |
| TTSV580 | 4297/580 | 580 | 577 | 165 | 510 | 710 | M24 | M42 | 3 | 41560 | 300 | |
| TTSX610 | 4397/610 | 610 | 607 | 205 | 178 | 533 | 1524 | M30 | M42 | 3 | 44420 | 388 |
| TTSV610 | 4297/610 | 610 | 607 | 178 | 533 | 762 | M30 | M42 | 3 | 44420 | 345 | |
| TTSX640 | 4397/640 | 640 | 637 | 214.8 | 185 | 550 | 1524 | M30 | M42 | 3 | 48560 | 454 |
| TTSV640 | 4297/640 | 640 | 637 | 185 | 550 | 762 | M30 | M42 | 3 | 48560 | 418 | |
| TTSX710 | 4397/710 | 710 | 705 | 250 | 235 | 610 | 1600 | M30 | M42 | 4 | 62700 | 697 |
| TTSX750 | 4397/750 | 750 | 745 | 260 | 225 | 650 | 1600 | M30 | M42 | 4 | 63900 | 747 |
| TTSX800 | 4397/800 | 800 | 795 | 270 | 245 | 700 | 1700 | M30 | M48 | 4 | 65000 | 930 |
| TTSX900 | 4397/900 | 900 | 896 | 280 | 236 | 750 | 1800 | M36 | M48 | 6 | 94000 | 1230 |
熱銷 · 產品
Product display產品 · 應用
Product application
產品 · 優(yōu)勢
Product characteristics
眾多客戶案例見證實力,多年耕耘 實力深厚。

使客戶準確選擇產品,并提供非標訂制服務

廠家直銷,沒有中間商賺差價性價比更高,可加工定制

根據客戶需求,提供產品解決方案貼心的售后服務團隊

從選型到使用,為客戶全程提供服務,解決客戶憂慮

可為客戶提供全方位技術咨詢服務,解決客戶疑慮
聯系 · 方式
Contact information
深溝球軸承是與軋機用四列圓柱滾子軸承配套的主要產品之一,主要用于軋輥軸向定位和導向。該類軸承為不可分離型軸承,...

角接觸球軸承極限轉速較高,可同時承受徑向負荷和軸向負荷,有可承受純軸向負荷,其承受軸向負荷的能力有其接觸角決定...

圓柱滾子背襯軸承有兩列或三列滾子,有滿滾子軸承(無保持架)或帶保持架軸承形式,可以帶有或不帶整體式擋邊或擋...

調心滾子軸承為雙列球面滾子軸承,內圈有兩列滾道,外圈為球面滾道,外圈滾動面中心與軸承中心一致。自動調心性能好,...

圓錐滾子軸承屬于分離型軸承,軸承的內、外圈均具有錐形滾道。該類軸承按所裝滾子的列數分為單列、雙列和四列圓錐滾子...

圓錐滾子軸承屬于分離型軸承,軸承的內、外圈均具有錐形滾道。該類軸承按所裝滾子的列數分為單列、雙列和四列圓錐滾子...

圓錐滾子軸承屬于分離型軸承,軸承的內、外圈均具有錐形滾道。該類軸承按所裝滾子的列數分為單列、雙列和四列圓錐滾子...

該類型軸承為分離型軸承,可分別安裝軸圈、座圈及保持架組件,可承受較大的雙軸向負荷,不能承受徑向負荷,主要應用于...